梁山港新添科技元素——为火车卸车提速助力
发布日期:2023-06-20
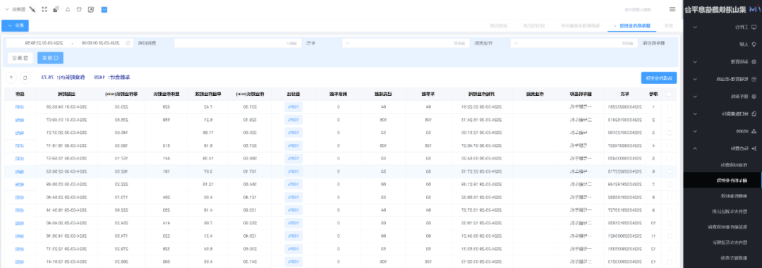
为改变火车票卸车的正确方法控制,升级侧翻机卸车效应,近几日,梁山港新容易上火车票卸车效应统计表格设备,改变了对卸车的时候的周全监控设备和数据表格报告进行分析,为梁山港方法行政决策供给了充分数据表格报告支撑体系。
截至目前表到,该体统在对接的大型车翻进线识別体统、散货路企交接检杳体统及其铁路桥正轨衡体统,在对各体统数剧显示用心挖掘和svm算法分享,推动了对车号、操作控制时限、车节数、单节操作控制效应、综合操作控制时限、非操作控制时限及其出港用时等数剧显示统计表分享。在抓取综上所述启用阶段和操作控制数剧显示,会准确度计算出来大型车翻机的操作控制效应,助于控制员不能SEO操作控制进度表,SEO資源搭配,然后加强综合卸车效应。下一部,梁山港将持续不断根据增长“科枝稀有元素”,回收利用十分专业、有生产率的管理工作方式方法,保持生产制造活动的参数分享和准确管理控制,为梁山港推广生产率和服务保障高质量的周全优化奠定基础条件夯实基础条件。文/图|魏义理(社会信息查询中间)